產品分類Product

FTPD-2B型
便攜式鋼絲芯強力皮帶探傷儀

一、概述
FTPD-2B型新型手提式強力皮帶鋼絲繩芯探傷儀是由石家莊飛泰檢測儀器有限公司開發生產的新一代的X射線檢測儀器,它采用平板型影像增強器和內置式高壓發生裝置,由于平板型影像增強器具有快速反應和高靈敏度的特點,因此射線劑量非常低,這樣同時保證了操作者的安全,便攜式鋼絲繩芯輸送帶探傷儀它主要檢測皮帶硫化接口、皮帶內部鋼絲芯斷裂、抽動、斷頭情況并及時預警加強安全措施,為煤礦用戶在使用鋼絲芯輸送帶的生產過程中清除安全隱患。

二、使用原理
FTPD-2B型礦用新型強力鋼絲繩芯輸送帶探傷儀采用液晶平板成像原理,降低了X光射線機的輻射量,對人體沒有傷害,檢測人員透過需要檢測的皮帶傳送帶接頭,即可看到皮帶內部鋼絲繩網是否破損,破損程度是否達到需要修補更換和更換的程度,接頭是否松動,開裂,是否修補更換,避免了事故的發生,延長了昂貴的膠帶使用壽命,我們的便攜式鋼絲芯輸送帶探傷儀它可以檢測煤礦600mm-2200mm(煤礦上輸送帶的正常范圍)的皮帶寬度,基本上可以滿足煤礦所有皮帶的寬度,而且性價比也好,我們廠家承諾客戶質保2年,儀器內置一套防護服。
FTPD-2B型皮帶探傷儀體積靈巧,輕便,是目前稀有的一種能在狹窄的煤礦巷道方便使用的安全檢測設備,該機子重4公斤,一個手就可以操作,一按按鈕就可看到皮帶內部鋼絲芯網的具體情況,該機具有圖像存儲功能,可防止漏點,也可將檢測的數個疑點保存在機器上,帶給有經驗的人員復查,防止出現由于當班人員工作經驗不足造成的誤判,不讓一絲危險漏過。
三、本機具有如下特點
⒈不用暗室,不用防護即可直接實時觀察;
⒉高增益、高靈敏度、高空間分辨率,操作簡便。
⒊射線劑量低,安全可靠,結構簡化,體積小,重量輕,可手提使用。
⒋可以按用戶要求接駁影視和電腦系統,或配錄像系統。
四、性能
本機為不防進液的封閉設備,主要技術指標如下:
空間分辨率 ≥50 lp/cm
灰度等級 ≥10級
可容厚度不超過 500mm
可容深度不超過 2400mm
X射線機的有效視野為Φ75mm
X射線管電壓為 75kV
X射線管電流為 0.4mA
檢測皮帶尺寸;0-2200mm
儀器重量(標準):4公斤左右
圖像分辨率: ≥50線對/cm
對比度: ≥5%
儀器外殼顏色;綠色
電池可快速拆卸
儀器材質;塑料
儀器為全封閉,防止漏射線
FTPD-2B型攜帶照相功能
電池部位為不外露型
產品制造廠家;石家莊飛泰檢測儀器有限公司
五、產品標記
面板上 “ ” 表示本機為短時加載連續運行產品,一般以開一分鐘停三分鐘為宜,并且當前一次開機后關機,至后一次開機,中間須間隔至少5秒鐘以上;
面板上“” 符號表示本機有電離輻射;
面板上 “ ”符號表示本機是防電擊程度為B型的設備;
主機上綠色指示燈表示儀器是否上電;
主機上黃色指示燈表示儀器是否加載;
主機上的綠色按鈕是啟動按鈕
六、設備貯存條件
環境溫度范圍: -20℃~55℃;
相對濕度范圍: ≤95%;
大氣壓力范圍: 500hPa~1060hPa。
設備運行條件
環境溫度范圍: 10℃~40℃;
相對濕度范圍: ≤75%;
大氣壓力范圍: 700 hPa~1060hPa;
電 源: 直流14.4V
功 率: 40VA
七、應用范圍
FTPD-2B型便攜式鋼絲繩芯輸送帶探傷儀應用于煤礦輸送帶內部鋼絲芯檢測,皮鞋內部鋼釘檢測,電路板檢測,傳送帶檢測等工業現場運用X射線原理反復檢查,并在輕金屬科研、實驗、科教以及科學儀器中也廣泛使用。
FTPD-2B型便攜式鋼絲繩芯輸送帶探傷儀現主要用在煤礦的皮帶機的鋼絲繩芯橡膠帶和即時隨意的現場安全檢測,鋼絲繩芯膠帶運輸在長距離大運量的物料運輸中被廣泛運用。
例如:膠帶的接頭和其中的鋼絲繩芯在運行中會受到損傷,一旦膠帶斷裂,會造成巨大的經濟損傷和重大的安全事故,尤其是某些膠帶機的設計還兼顧人員的運輸,安全更為重要,特別是每一百米處的膠帶接頭,是硫化上的,非鋼絲繩焊接的,容易斷裂,跑偏造成卷帶容易造成撕帶,礦用鋼絲繩芯強力膠帶運輸機的輸送帶的縱向開裂,皮帶機司機得多注意。
煤炭生產過程中強力膠帶輸送機普遍存在距離長、煤炭多的特點,輸送膠皮帶接頭內的鋼絲繩芯網與水和潮氣易出現銹蝕折斷,易造成皮帶斷帶事故的安全問題,由于外表覆蓋有膠很難發現。
FTPD-2B便攜式鋼絲芯輸送帶探傷儀采用目前先進的液晶成像工作原理,降低了高壓打火現場,為目前在瓦斯環境下安全的檢測設備,FTPD-2B型手提式皮帶鋼絲芯探傷儀檢測皮帶內部鋼絲繩芯老化情況,向斷絲或是鋼絲已經出現抽動/松動/翻轉情況,需作出標記,及時更換防止斷帶事故發生。
八、X射線的泄漏與安全性
本機的加載電壓為75kV, 電流為0.4mA,在此條件下,超出影像接受平面的范圍為3 0mm,允許的空氣比釋動能為150μGy/h。
對X射線的泄漏采用了一系列嚴密而謹慎的有效措施,包括射線源的鉛罩、像增強器前后的防護鉛板、螢光屏觀察窗用的鉛玻璃及采用準直器裝置等,固使用時無需作任何特殊防護。
本機為手提式設備,經常的移動可能導致部件間的相對位置發生偏移,因此本機應進行周期性的漏射線檢測,以保證漏射線劑量在允許的范圍內。一旦發現漏射線超標,應馬上停止使用,并與生產商取得聯系。
九、操作方法
⒈將大的防護鉛板內圈的三個孔套入到像增強器前鋁板的三個螺釘上,轉動大盤以防落下。
⒉本機采用交直流兩用供電方式使用,使用交流時直接將插頭插入插座即可;直流使用前請先用充電器將兩節電池分別充電。使用時將電池插入電池槽中(注意方向,正確方向時尾部露出4厘米左右),此時主機上的綠色指示燈應亮,黃燈不亮,。如果有異常一般為電池沒電,請進入充電程序。如果一切正常而綠色指示燈仍不亮或黃色指示燈一直亮,請立即封存儀器并聯系生產商或銷售商;
⒊按下開關按鈕,主機上黃色指示燈亮,經數秒后(燈絲預熱)螢光屏亮,即可實時觀察。如果發現異常情況請立即聯系生產商或銷售商;本機的按鈕是不帶鎖的,使用時須一直按住按鈕,;
⒋盡管本機是低劑量的,但輻射仍是存在的,開機時間越短越好。生產商推薦的連續開機時間為60秒鐘。如果一直開機不停止,那么到60秒鐘以后,儀器會自動切斷射線,提醒操作者使用時間已達一分鐘,同時也是機器的自動保護。這時再按住按鈕也不會再出射線了,只有松開按鈕然后再次按下按鈕,才可以重新開機。具體請看注意事項第三條;
⒌使用時要盡量使待檢部件盡量貼緊像增強器而遠離球管部位,這樣可以使圖像更清晰。
⒍環境光線越暗效果越佳;
⒎充電方法:
本機備有兩個電池,一個充電器。
在充電時,先插上充電器電源,充電器上指示燈應為雙綠色,將電池插入充電器后,充電器上充電指示燈應為紅色,等到紅色指示燈變綠即說明充電結束,可以使用了。一般情況下一節完全用盡的電池要充4-5小時才可以充滿電。
⒏本機有一個電源開關,須使開關處于“|”位置,整機才能使用,開關處于“O”位置時整機不能使用。
十、注意事項
⒈設備在開始使用前,特別注意,在插入電池或接通電源時,不得按住主機上的按鈕開關,否則將會使儀器造成嚴重損壞。
⒉設備在不使用時,須放到鋁箱中,如果暫時不用,須橫放在桌上以免損壞。平時鋁箱存放時要避免摔倒,以免損壞儀器;
⒊為延長機器使用壽命,使用本機時請避免連續開機過長,一般以開一分鐘停三分鐘為宜,并且當前一次開機后關機,至后一次開機,中間須間隔至少5秒鐘以上,以避免前次的高壓在關機后未完全退完后與后一次高壓積累,成瞬間高壓,擊穿X射線球管,造成人為機器故障;
⒋本機應定時進行清潔保養。可用酒精擰稍干后擦洗,擦洗時注意不使水形成水滴以防止水滲入機器內部;
⒌平時要注意不要讓諸如水、酒精、等進入按鈕、插座或電池插頭,以防出現電路故障,從而影響使用。
⒍如果在使用過程中發現鋁箱中有油跡,可能說明射線管已經漏油,應馬上停止使用并請立即聯系生產商或銷售商;
⒎本機結構較為緊密,又涉及高壓,所以不允許用戶自行拆卸,如用戶發現諸如顯示器不亮、指示燈不亮、顯示器發暗等情況請立即停止使用并及時與生產廠家取得聯系,以免引起故障的擴大。
⒏特別提示:如果使用中發現圖象出現月牙型缺損,一般情況下說明射線部分已經發生位置偏移,這將可能導致出現漏射線超標的情況發生,因此請立刻停止使用,并馬上與生產商或銷售商取得聯系,將儀器寄回生產廠家進行維修。
十一、需要說明的問題
⒈本機使用時,大的分離式防護板須裝上,本機的防護設計是以此屏存在時作為設計依據的,在沒有大防護屏時,本公司不保證整機能達到輻射防護的要求;操作時使用者須在防護板的后面進行操作,使用時操作者手的位置不能超過防護屏邊線的延長線所在的范圍之前,在此條件下空氣比釋動能率不超過0.5mGy/h;
⒉本機是射線產品,一般情況下,任何涉及到球管和影像增強器的維修都要回到廠里進行,以保證經維修后的漏射線指標能夠達到安全要求。如用戶自行對此兩項目進行維修,本公司不再對儀器的射線安全承擔責任。
⒊本機的外包裝鋁箱是供平時使用時用的,如果要進行運輸則須要外加紙箱包裝并加墊泡沫,否則容易造成關鍵器件損壞。
十二、維護及保養
1. 該儀器不可隨便打開機器,以防發生意外,如儀器不正常工作,只能經過本公司培訓的人員才能進行維修,切勿自行開箱維修。
2. 儀器應防潮、防高溫。
3. 每次使用前,須先察看主機的準直器是否有明顯的角度偏差,顯示器是否有玻璃破損。每過兩年,本儀器就須寄回生產廠一次,由生產廠進行一次保養,以確保安全使用。
4. 本機保修期為二年。為確保使用安全,防止因功能失效及老化引起的危害,本公司保證本機的正常使用壽命為出廠后五年或產品合格證標注日期后六年之間的較早者,在這個時間段內本公司負責維修,超過這個時間后,本公司將不負維修責任。
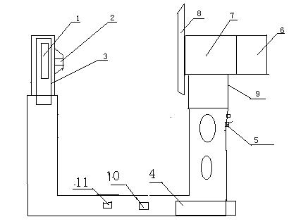
十三、結構說明
本機的結構如圖1示:

圖1 FTPD-2B型手提式X射線透視儀
⒈X射線管;⒉準直器;⒊鉛筒;⒋電池插頭;⒌開關;⒍遮光罩
⒎平板型X射線像增強器;⒏防射線板;⒐X射線機外部標志
⒑電源插座(不接) 11.電源開關
FTPD-2B型手提式鋼絲芯皮帶探傷儀
裝 箱 單
物 品 名 | 數 量 | 單位 |
FTPD-2B主 機 | 1 | 臺 |
充 電 器 | 1 | 只 |
電 池 | 2 | 個 |
防射線板 | 1 | 塊 |
使用說明書 | 1 | 份 |
照相儲存盒 | 1 | 個 |
儲存卡 | 2 | 個 |
產品合格證 | 1 | 張 |
保 修 卡 | 1 | 份 |
產品安裝卡 | 1 | 份 |
選配件: | ||
軟件分析電腦 | 1 | 臺 |

